3044永利集团
(2)蝶阀的应用
传统意义上的蝶阀是一种简单的且关闭不严的挡板阀,通常用于水管路系统中作为流量调节和阻尼用。近十几年来,蝶阀制造技术发展迅速,在美、日、德、法等发达国家,蝶阀的使用非常广泛,其使用品种也在不断扩大,并向高温、高压、大口径、密封阀、长寿命、优良的调节性以及一阀多功能的方向发展,其密封性及安全可靠性均达到了较高的水平,并已部分地取代了截止阀、闸阀和球阀。传统意义上的蝶阀已不复存在。因此,蝶阀广泛应用于给水、油品、燃气等管路。
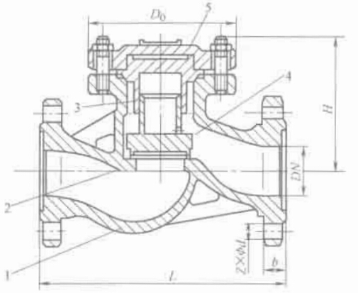
2-62 什么是旋塞阀?特点是什么?常用在哪里?
答:旋塞阀利用阀件内所插的中央穿孔的锥形栓塞的控制启闭的阀件,称为旋塞阀。旋塞阀的结构如图 2-12 所示。

图 2-12 旋塞阀
1-旋塞;2-压环;3-填料;4-阀体;5-退塞螺栓
旋塞阀的特点:结构简单,外形尺寸小,介质流动方向不限,启闭时只需旋转 90°,十分快捷,这种直通式旋塞阀通道不缩小,介质在阀内流向不改变。流体阻力小,还可制作成三通路或四通路阀门,可作为分配换向用。但密封面易磨损,开关力较大。
旋塞阀不适用于输送高温、高压介质(如蒸汽)、只适用于一般低温、低压流体,作开闭用,不宜做调节流量用。
旋塞阀应用于油田开采、输送和精炼设备中,同时也广泛用于石油、化工、燃气、水暖等管路中。
旋塞阀公称直径范围为 15~150mm,公称压力有 0.6MPa、1.0MPa、1.6MPa 三个等级,工作温度在 100℃ 以内。
2-63 什么是止回阀?特点是什么?常用在哪里?
答:止回阀只用于阻止介质倒流的阀门,又称逆止阀、单向阀,它包括各种结构的止回阀(如升降式、旋启式、蝶式止回阀和底阀等)。升降式止回阀和旋启式止回阀的结构如图 2-13 和如图 2-14 所示。

图 2-13 升降式止回阀
1-阀体;2-阀座;3-导向套简;4-阀瓣;5-阀盖

图 2-14 旋启式止回阀
1-阀体;2-阀盖;3-阀瓣;4-摇杆;
止回阀的特点:升降式止回阀比旋启式止回阀的密封性好,流体阻力大;卧式的宜装在水平管线上,立式的应装在垂直管线上;旋启式止回阀,不宜制成小口径阀门,他安装在水平,垂直或倾斜的管线上,如装在垂直管线上,介质流向应由下至上。
止回阀仅能安装在输送清洁介质的管道上,对于有某种颗粒和粘度较大的介质是不适用的,因为这种介质会降低止回阀的密封性能。
2-64 什么是减压阀?结构如何?特点是什么?
答:减压阀是一种能将介质压力降低到一定数值的自动阀门。减压阀根据敏感元件及结构不同可分为弹簧薄膜式减压阀、活塞式减压阀、波纹管式减压阀、杠杆式减压阀等。
这里将活塞式减压阀的机构及工作原理介绍如下:
活塞式减压阀的结构及工作原理如图 2-15a、b 所示,其主要由阀体、阀盖、弹簧、活塞、主阀、副阀(脉冲阀)等部分组成。在阀体的下部装有主阀弹簧 11 用以支承主阀 10,使主阀与阀座处于密封状态。阀体上部装有活塞 8,活塞与主阀 10 的阀杆相配合,待活塞 8 受到介质压力推动主阀 10,使主阀开启。阀盖内装有压缩弹簧、脉冲阀及膜片,帽盖内装有调节螺钉、调节弹簧以调节需要的工作压力。

图 2-15 活塞式减压阀
a)活塞式减压阀;b)活塞式减压阀工作原理
1-调节螺钉;2-调节弹簧;3-上盖;4-膜片;5-脉冲阀;6-阀盖;7-活塞环;8-活塞;9-阀体;10-主阀;11-主阀弹簧;12-底阀盖
活塞式减压阀的工作原理如图 2-15b 所示,当阀门工作时,顺时针方向旋转调节螺钉 1,压下磨片 4,顶开脉冲阀 5、阀前压力为 p1 的介质经过阀体内通道 a 经小室 e、小室 d 和阀内通道 b 到达活塞的上部空间,克服下弹簧力、推下活塞 8,打开主阀 10。介质流过主阀,压力下降为 p2 升高时。薄膜片由于下面的作用力变大而向上弯,脉冲阀关小,是的介质进入小室 e 和小室 d 的通道变窄,活塞口的下推力下降,主阀上升关小,压力 p2 自动降下来。反之亦然。活塞式减压阀可保持压力 p2 在一定的范围内波动。
活塞式减压阀的特点是工作可靠、维修量小,减压范围较大,占地面积小,使用范围广。活塞式减压阀工作时,由于活塞在气缸中的摩擦力较大,因此,它适用于温度较高、压力较大的蒸汽和空气等介质的管道工程上。活塞式减压阀的缺点是灵敏度较差。
弹簧薄膜式减压阀、波纹管式减压阀、减压稳压分别如图 2-16、图 2-17、图 2-18 所示。

图 2-16 弹簧播模式减压阀
1-阀体;2-阀盖;3-薄膜;4-阀杆;5-阀瓣;6-主阀弹簧;7-调节弹簧;8-调整螺栓

图 2-17 波纹管式截止阀
1-调整螺栓;2-调节弹簧;3-波纹管;4-压力通道;5-阀瓣;6-定金弹簧

图 2-18 减压稳压阀
1-阀体;2-密封垫;3-导套;4-限位母;5-阀瓣;6-密封圈;7-阀座;8-阀杆;9-活塞套;10-O 形密封圈;11-膜片;12-托盘;13-压缩弹片;14-弹簧;15-调节螺杆;16-弹簧座;17-盖形;18-密封垫;19-下阀盖;20-螺母
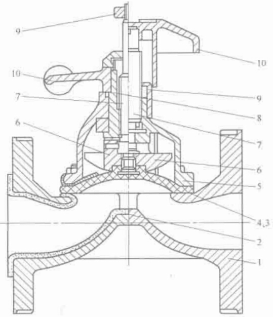
2-65 什么是隔膜阀?结构如何?型号及参数有哪些?
答:启闭件为隔膜,由阀杆带动沿阀杆轴线作升降运动并将使动作机构与介质隔开的阀门,可称隔膜阀。
隔膜阀的结构如图 2-19 所示,隔膜阀用橡胶、塑料、搪瓷等耐腐蚀材料做衬里,隔膜阀的优点是结构简单、便于维修、流动阻力下,多用于输送酸类介质和带悬浮物的工业管路上,其适用范围为 PN≤0.6MPa,DN≤300mm。
隔膜阀结构形式如图 2-19、图 2-20、图 2-21 所示。

图 2-19 屋脊式隔膜阀
1-阀体;2-阀杆;3-隔膜;4-衬里

图 2-20 堰式隔膜阀
1-阀体;2-阀体衬里;3-隔膜;4-螺钉;5-阀盖;6-阀瓣;7-阀杆;8-阀杆螺母;9-指示器;10-手轮;

图 2-21 直通式隔膜阀
隔膜阀型号及参数见表 2-60。
| 名称 | 型号 | 公称压力 PN/MPa | 适用介质 | 适用温度/℃≤ | 公称尺寸 DN/mm |
| 隔膜阀 | G41W-6 | 0.6 | 酸、碱类 | 65 | 15~200 |
| 衬胶隔膜阀 | G41J-6 | 25~300 | |||
| 气动衬胶隔膜阀 | G641-6 | 25~200 | |||
| 气动常开式衬胶隔膜阀 | G6h41J-6 | 25~200 | |||
| 气动常闭式衬胶隔膜阀 | G6B41J-6 | 25~200 | |||
| 电动衬胶隔膜阀 | G941J-6 | 50~200 | |||
| 搪瓷隔膜阀 | G41C-6 | 100 | 25~200 |
2-66 什么是节流阀?结构特征是什么?型号及参数有哪些?
答:通过启闭件(阀瓣)来改变阀门的通路面积,以调节流量、压力的阀门称为节流阀。
节流阀如图 2-22 所示,从结构特征看,节流阀也属于截止阀类,阀瓣有窗形、塞形和针形,如图 2-23 所示。窗形用于大通径,塞形用于中通径,针形用于小通径。节流阀的作用是节流减压,使介质膨胀,因此,也称膨阀。

图 2-22 节流阀
a)L21SA-25K 外螺纹节流阀;b)角式节流阀

图 2-23 节流阀阀瓣
虽然节流阀在结构特征上与截止阀相似,但节流阀不能当截止阀使用,截止阀也不可代替节流阀。
同截止阀一样,节流阀安装具有方向性,安装时可按“低进高出”的原则进行安装。
节流阀型号及参数见表 2-61。
| 名称 | 型号 | 公称压力 PN/MPa | 适用介质 | 适用温度/℃≤ | 公称尺寸 DN/mm |
| 外螺纹节流阀 | L21W-25K | 2.5 | 氨、氨液 | -40~150 | 10~15 |
| 外螺纹角式节流阀 | L24W-25K | 10~15 | |||
| 外螺纹节流阀 | L21B-25K | 20~25 | |||
| 外螺纹角式节流阀 | L24B-25K | 20~25 | |||
| 节流阀 | L41B-25Z | 32~50 | |||
| 角式节流阀 | L44B-25Z | 32~50 | |||
| 外螺纹节流阀 | L21W-40 | 4.0 | 油品 | 200 | 6~10 |
| 卡套节流阀 | L91W-40 | 6~10 | |||
| 外螺纹节流阀 | L21W-40P | 硝酸类 | 100 | 6~25 | |
| 外螺纹节流阀 | L21W-40R | 醋酸类 | 6~25 | ||
| 外螺纹节流阀 | L21H-40 | 油品、蒸汽、水 | 425 | 15~25 | |
| 卡套节流阀 | L91H-40 | 15~25 | |||
| 节流阀 | L41H-40Q | 350 | 32~50 | ||
| 节流阀 | L41H-40 | 425 | 10~50 | ||
| 节流阀 | L41W-40P | 硝酸类 | 100 | 32~50 | |
| 节流阀 | L41W-40R | 醋酸类 | 32~50 | ||
| 节流阀 | L41H-100 | 10.0 | 油品、蒸汽、水 | 450 | 10~50 |
2-67 什么是疏水阀?结构及工作原理如何?型号及参数有哪些?
答:自动排放凝结水并组织蒸汽通过的阀门是疏水阀。疏水阀是一个自动调节阀门,它能自动排出凝结水,组织蒸汽通过。疏水阀又名阻汽排水阀。
浮桶式蒸汽疏水阀的结构就工作原理如图 2-24 所示。桶装浮子的开口朝上配置。开始通汽时,产生的凝结水被蒸汽压力推到,流入疏水阀内部吊桶的四周,随着凝结水量的增加又逐渐流入桶内。当浮桶内贮存的水达到所规定的数量时,浮桶失去了浮力,便下沉,从而打开了连接在浮桶上的阀瓣,浮桶内的水通过集水管,由疏水阀的出口排出。当浮桶内的凝结水大部分被排除之后,浮桶又恢复了浮力。向上浮起,关闭蒸汽疏水阀。
疏水阀型号及参数见表 2-62。
| 名称 | 型号 | 公称压力 PN/MPa | 允许背压/%≤ | 适用温度/℃≤ | 公称尺寸 DN/mm | ||||||
| 浮球式疏水阀 | S41H-16 | 1.6 | 80 | 200 | 15 | 20 | 25 | 32 | 40 | 50 | 80 |
| S41H-16Q | 350 | △ | △ | △ | △ | △ | △ | ||||
| S41H-25 | 2.5 | △ | △ | △ | △ | △ | △ | △ | |||
| S41H-40 | 4.0 | 425 | △ | △ | △ | △ | △ | △ | △ | ||
| S41H-60 | 6.4 | △ | △ | △ | △ | △ | △ | ||||
| S41H-160I | 16 | 550 | △ | △ | △ | △ | △ | △ | |||
| 浮桶式疏水阀 | S43H-6 | 0.6 | 200 | △ | △ | △ | △ | △ | △ | ||
| S43H-10 | 1.0 | △ | △ | △ | △ | △ | △ | ||||
| 内螺纹倒吊桶式疏水阀 | S15H-16 | 1.6 | △ | △ | △ | △ | △ | △ | |||
| 双金属片式疏水阀 | S47H-16 | 50 | △ | △ | △ | △ | △ | △ | |||
| S47H-25 | 2.5 | 350 | △ | △ | △ | △ | △ | △ | |||
| 内螺纹脉冲式疏水阀 | S18H-25 | 25 | △ | △ | △ | △ | △ | ||||
| 内螺纹圆盘式疏水阀 | S19H-16 | 1.6 | 50 | 200 | △ | △ | △ | △ | △ | △ | |
| 圆盘式疏水阀 | S49H-16 | △ | △ | △ | △ | △ | △ | ||||
| 内螺纹圆盘式疏水阀 | S19H-40 | 4.0 | 425 | △ | △ | △ | △ | △ | |||
| 圆盘式疏水阀 | S49H-40 | △ | △ | △ | △ | △ | |||||
| 承插焊圆盘式疏水阀 | S69H-40 | △ | △ | △ | △ | ||||||
| 圆盘式疏水阀 | S49H-64 | 6.4 | △ | △ | △ | ||||||
| S49Y-100 | 10.0 | 450 | △ | △ | △ | ||||||
| 承插焊圆盘式疏水阀 | S69Y-100 | △ | △ | △ | |||||||
| 圆盘式疏水阀 | S49Y-160I | 16.0 | 550 | △ | △ | △ | |||||
| 承插焊圆盘式疏水阀 | S69Y-160I | △ | △ | △ | |||||||
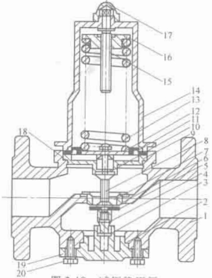
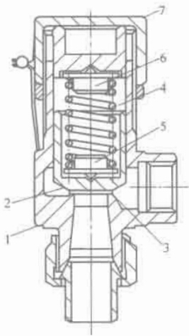
2-68 什么是安全阀?安全阀的各种结构功能如何?
答:当系统压力超过调定值时自动开启的阀称为安全阀,安全阀用来限制气罐或回路的最高压力以保证安全,结构上与座阀式直动溢流阀相同。对安全阀来说,反应快是最重要的。溢流阀的调定压力是溢流阀达到公称流量时的压力,但安全阀的调定压力是开启压力。
当管道或设备内的介质压力超过规定数值时,启闭件(阀瓣)能自动开启排放,低于规定值时,自动关闭,对管道或设备起保护作用的阀门是安全阀。
安全阀的各种结构功能:安全阀的种类很多,通常大都以安全阀的结构特点或阀瓣最大开启高度与阀座直径之比(h/d)进行分类,安全阀一般可分为杠杆重锤式安全阀、弹簧安全式、微启式安全阀、全启式安全阀、脉冲式安全阀、先导式安全阀等。这里将前四种安全阀的结构功能介绍如下,供管理、维修、检验、订购参考。
1)杠杆重锤式安全阀:杠杆重锤式安全阀如图 2-25 所示。重锤的作用力通过杠杆放大后加载于阀瓣。在阀门开启和关闭过程中载荷的大小不变,因此由阀杆传来的力基本是不变的。其缺点是对振动较敏感,且回座性能差。这种结构的安全阀只能用在固定设备上,重锤的质量一般不应超过 60kg,以免操作困难。铸铁制重锤式安全阀适用于公称压力 PN≤1.6MPa,介质温度 t≤200℃;碳钢制重锤式安全阀适用于公称压力 PN≤1.6MPa,介质温度 t≤450℃。重锤式安全阀主要用于水、汽等介质。

图 2-25 杠杆重锤式安全阀
1-阀体;2-阀座;3-阀盘;4-导向套筒;5-阀杆;6-重锤;7-杠杆;8-阀盖
2)微启式安全阀:阀瓣的开启高度为阀座通径的 1/40~1/20 的安全阀是微启式安全阀。微启式安全阀又分为不带调节圈的微启式安全阀和带调节圈的微启式安全阀,不带调节圈的微启式弹簧安全阀如图 2-26 所示,带调节圈的微启式安全阀弹簧安全阀如图 2-27 所示,带调节圈的弹簧安全阀可利用调节圈对排放压力即启闭压差进行调节。

图 2-26 不带调节阀的微启式弹簧安全阀
1-阀体;2-阀瓣;3-阀座;4-弹簧;5-下弹簧阀座;6-上弹簧阀座;7-阀盖

图 2-27 带调节圈的微启式弹簧安全阀
1-阀体;2-阀座;3-调节圈;4-定位螺钉;5-阀瓣;6-阀盖;7-保险铁丝;8-保险铅封;9-紧锁螺母;10-套筒螺丝;11-安全护罩;12-上弹簧座;13-弹簧;14-阀杆;15-下弹簧座;16-导向套;17-反向冲
3)圈其实安全法:阀瓣的开启高度为阀座通径的 1/4~1/3 的安全阀是全启式安全阀。全启式安全阀如图 2-28 所示,在安全阀的阀瓣处设有反冲盘,借助于气体介质的膨胀冲力,使阀瓣开启到足够的高度,从而达到排量要求。这种结构的安全阀使用较多,灵敏度亦较高。

图 2-28 全启式安全阀
1-阀体;2-阀座;3-调节阀;4-定位螺钉;5-阀瓣;6-反冲盘;7-保险铁丝;8-保险铅封;9-紧锁螺母;10-套筒螺钉;11-安全护套;12-上弹簧座;13-弹簧;14-阀杆;15-阀盖;16-下弹簧座
2-69 安全阀的安装有哪些要求?
答:安全阀的安装要求是:
1)安全法必须垂直安装,并尽量靠近被保护的设备或管道,自被保护的设备到安全阀入口管道最大压力损失不得超过安全阀定压的 3%。
2)安全阀入口管道的管径必须大于或等于安全阀入口管径,其连接的大小头应尽量设在靠近安全阀的入口处。
3)安全阀向大气排放时,排放的管道要高出已排放口为中心的 7.5m 半径范围内的操作平台、设备或地面 2.5m 以上。而对于有腐蚀性、易燃或有毒的介质,排放口要高出 15m 半径范围内的操作平台、设备或地面 3m 以上。
4)安全阀排放管排入大气时,端部要切成平口,同时,在安全阀出口弯头附近的低处要开设 φ6~φ10mm 的小孔,以免雨、雪或冷凝液积聚在排出管内。
5)安全阀排放液体时,要引向装置内最近的合适的工艺废料系统,不允许直接排放大气。
6)安全阀要装在易于检修和调节处,周围要有足够的操作空间。
7)安全阀入口出不允许设置切断阀,若出于检修或其他方面的原因(如排放的介质中含有固体颗粒,影响安全阀跳开后不能再关闭,需要拆开检修;或用于粘性、腐蚀性介质),可加切断阀并设检查阀,切断阀必须处于劝其状态,并加铅封,且应有醒目的标志。
8)对有可能使用蒸汽吹扫的泄压过道,应考虑由于蒸汽吹扫产生的热膨胀。
2-70 安全阀型号及参数有哪些?
答:安全阀型号及参数见表 2-63。
| 名称 | 型号 | 公称压力 PN/MPa | 密封压力/MPa | 适用介质 | 适用温度/℃≤ | 公称尺寸 DN/mm |
| 外螺纹弹簧式安全阀 | A27W-10T | 1.0 | 0.4~1.0 | 空气 | 120 | 15~20 |
| 外螺纹弹簧式带扳手安全阀 | A27H-10K | 0.1~1.0 | 空气、蒸汽、水 | 200 | 10~40 | |
| 弹簧式带扳手安全阀 | A47H-16 | 1.6 | 0.6~1.6 | 40~100 | ||
| 外螺纹弹簧封闭式安全阀 | A21H-16C | 空气、氨气、水、氨液 | 10~25 | |||
| 外螺纹弹簧封闭式安全阀 | A21W-16P | 硝酸等 | 10~25 | |||
| 弹簧封闭式安全阀 | A41H-16C | 空气、氨气、水、氨液、油品 | 300 | 32~80 | ||
| 弹簧封闭式安全阀 | A41W-16P | 硝酸等 | 200 | 32~80 | ||
| 弹簧式带扳手安全阀 | A47H-16C | 空气、蒸汽、水 | 350 | 40~80 | ||
| 双联弹簧封闭式安全阀 | A43H-16C | 空气、蒸汽 | 80~100 | |||
| 弹簧全启式安全阀 | A40H-16C | 油品、空气 | 450 | 50~150 | ||
| 弹簧全启式安全阀 | A40Y-16I | 550 | 50~150 | |||
| 弹簧封闭全启式安全阀 | A42H-16C | 0.06~1.6 | 300 | 40~200 | ||
| 弹簧封闭全启式安全阀 | A42W-16P | 硝酸等 | 200 | 40~200 | ||
| 弹簧封闭带扳手全启式安全阀 | A44H-16C | 0.1~1.6 | 油品、空气 | 300 | 50~150 | |
| 弹簧全启式安全阀 | A48H-16C | 空气、蒸汽 | 350 | 50~150 | ||
| 外螺纹弹簧封闭式安全阀 | A21H-40 | 4.0 | 1.6~4.0 | 空气、氨气、水、氨液 | 200 | 15~25 |
| 外螺纹弹簧封闭式安全阀 | A21W-40P | 硝酸等 | 15~25 | |||
| 弹簧封闭式安全阀 | A41H-40 | 1.3~4.0 | 空气、氨气、水、氨液、油品 | 300 | 32~80 | |
| 弹簧封闭式安全阀 | A41W-40P | 1.6~4.0 | 硝酸等 | 200 | 32~80 | |
| 弹簧式带扳手安全阀 | A47H-40 | 1.3~4.0 | 空气、蒸汽 | 350 | 40~80 | |
| 双联弹簧封闭式安全阀 | A43H-40 | 80~100 | ||||
| 弹簧全启式安全阀 | A40H-40 | 0.6~4.0 | 油品、空气 | 450 | 50~150 | |
| 弹簧全启式安全阀 | A43Y-40I | 550 | 50~150 | |||
| 弹簧封闭全启式安全阀 | A42H-40 | 1.3~4.0 | 300 | 40~150 | ||
| 弹簧封闭全启式安全阀 | A42W-40P | 1.6~4.0 | 硝酸等 | 200 | 40~150 | |
| 弹簧封闭带扳手全启式安全阀 | A44H-40 | 1.3~4.0 | 油品、空气 | 300 | 50~150 | |
| 弹簧全启式安全阀 | A48H-40 | 空气、蒸汽 | 350 | 50~150 | ||
| 弹簧封闭式安全阀 | A41H-100 | 10.0 | 3.2~10 | 空气、水、油品 | 300 | 32~50 |
| 弹簧全启式安全阀 | A40H-100 | 1.6~8.0 | 油品、空气 | 450 | 50~100 | |
| 弹簧全启式安全阀 | A40Y-100I | 550 | 50~100 | |||
| 弹簧全启式安全阀 | A40H-100P | 600 | 50~100 | |||
| 弹簧封闭全启式安全阀 | A42H-100 | 3.2~10 | 氮氢气、油品、空气 | 300 | 40~100 | |
| 弹簧封闭带扳手全启式安全阀 | A44H-100 | 油品、空气 | 50~100 | |||
| 弹簧全启式安全阀 | A48H-100 | 空气、蒸汽 | 350 | 50~100 | ||
| 弹簧封闭式安全阀 | A41H-160 | 1.6 | 10~16 | 空气、氮氢气、水、油品 | 200 | 15~32 |
| 弹簧全启式安全阀 | A40H-160 | 油品、空气 | 450 | 50~80 | ||
| 弹簧全启式安全阀 | A40Y-160I | 550 | 50~80 | |||
| 弹簧全启式安全阀 | A40Y-160P | 600 | 50~80 | |||
| 弹簧封闭全启式安全阀 | A42H-160 | 氮氢气、油品、空气 | 300 | 15~80 | ||
| 弹簧封闭式安全阀 | A41H-320 | 32.0 | 16~32 | 空气、氮氢气、水、油品 | 200 | 15~32 |
| 弹簧封闭式安全阀 | A42H-320 | 空气、氮氢气、油品 | 15~32 |
2-71 柱塞阀的功能及特点是什么?
答:柱塞阀的柱塞与密封圈间采用过盈配合,通过调节阀盖上连接螺栓的压紧力,是密封圈上所产生的径向分力大于流体的压力。从而保证了密封性,杜绝了外泄漏。
柱塞阀的特点:具有结构紧奏启闭灵活、寿命长、维修方便等特点。柱塞阀是国际上近代发展的新颖结构阀门,受到广泛重视。
2-72 什么是调节阀?
答:根据外来信号或流体压力的传递推动调节机构,以改变流体流量的阀门称为调节阀。
调节阀:指主要用于调节介质的流量、压力的阀门。它包括节流阀、减压阀。
2-73 什么是平衡阀?常用在哪里?
答:平衡阀是专用于供热系统上的调节阀门。使用平衡阀后就能有效地解决水力失调问题。平衡阀分静态平衡阀(简称平衡阀)和自动式平衡阀(也称自力式流量调节阀)。
平衡阀的内部结构也是由阀瓣和阀座组成,外形与普通阀一样。
2-74 柱塞阀型号和技术性能及生厂商有哪些?
答:柱塞阀型号和技术性能及生厂商见表 2-64。
| 产品名称 | 型号 | 规格 DN/mm | 主要技术性能 | 阀体材料 | 参考重量/kg | 生产厂 | ||
| 公称压力 PN/MPa | 适用介质 | 适用温度/℃ | ||||||
| 内螺纹联接柱塞阀 | U11F-16 | 15-65 | 1.6 | 油品、水、蒸汽等 | ≤150 | 灰铸铁 | 1.1 | 湖州第二阀门厂 DN15-DN50、浙江省玉环县飞乐节能阀门厂 DN15-DN50、浙江玉环县防腐阀门厂 DN25、浙江玉环飞环阀门厂 |
| U11F-16Q | 15-50 | 球墨铸铁 | 浙江省玉环县飞乐节能阀门厂、浙江玉环县防腐阀门厂 DN25、郑州市荥阳通用阀门厂 | |||||
| U11F-25Q | 15-50 | 2.5 | ≤250 | 铸铁、铸钢 | 郑州市荥阳通用阀门厂 | |||
| U11S-16 | 15~65 | 1.6 | ≤250 | 灰铸铁 | 湖州第二阀门厂 DN15-DN50、永嘉县瓯北机械阀门厂 DN15-DN50、台州振华阀门厂、浙江玉环县防腐阀门厂 DN25、台州振华阀门厂、浙江玉环县防腐阀门厂 DN15-DN50、玉环柱塞阀制造有限公司 DN15-DN50、浙江玉环飞环阀门厂 | |||
| U11SM-16 | ||||||||
| U11S-16Q | 15~50 | ≤250 | 球墨铸铁 | 1.5 | 永嘉县瓯北机械阀门厂 DN15-DN50、浙江玉环县防腐阀门厂 DN25、玉环柱塞阀制造有限公司 DN15-DN50 | |||
| U11SM-16Q | ||||||||
| U11S-16C | 15~50 | 碳钢 | 4 | 永嘉县瓯北机械阀门厂 | ||||
| U11SM-16C | ||||||||
| U11S-25 | 15~50 | 2.5 | 10 | |||||
| U11SM-25 | ||||||||
| U11S-40 | 15~50 | 4.0 | 1.1 | |||||
| U11SM-40 | ||||||||
| 内螺纹联接不锈钢柱塞阀 | U11S-16P | 15~50 | 1.6 | 油品、水、蒸汽等 | ≤250 | 铬镍钛钢 | 永嘉县瓯北机械阀门厂 | |
| U11SM-16P | ||||||||
| U11S-25P | 15~50 | 2.5 | 6.5 | |||||
| U11SM-25P | 10 | |||||||
| 手动内螺纹联接柱塞阀 | U11S-40P | 15~50 | 4.0 | 油品、水、蒸汽等 | ≤250 | 铬镍钛钢 | 永嘉县瓯北机械阀门厂 | |
| U11SM-40P | ||||||||
| 柱塞阀 | U41S-10 | 40-250 | 1.0 | ≤200 | 灰铸铁 | 25 | 台州振华阀门厂 | |
| U41F-16 | 15~300 | 1.6 | ≤180 | 6.5-210 | 湖州第二阀门厂 DN15-DN50,台州振华阀门厂 DN40-DN250、永嘉县瓯北机械阀门厂 DN15-DN200、自贡迎江机械阀门制造有些公司 DN15-DN200、广州阀门厂 DN20-DN150、郑州市宇明工业总公司 | |||
| U41F-16Q | 15-300 | 1.6 | ≤180 | 球墨铸铁 | 3.5 | 浙江玉环县飞乐节能阀门厂、自贡迎江机械阀门制造有限公司 DN15-DN200、郑州市荥阳通用阀门厂、广州阀门厂 DN20-DN150 | ||
| 42 | ||||||||
| 73 | ||||||||
| 105 | ||||||||
| U41F-25Q | 2.5 | ≤250 | 铸铁、铸钢 | 郑州市荥阳通用阀门厂 | ||||
| U41S-16 | 15-300 | 1.6 | ≤250 | 灰铸铁 | 70 | 河北省晋江市阀门厂 DN20-DN50、唐山迁西阀门厂 DN20-DN150、永嘉县瓯北机械阀门厂 DN15-DN200、浙江玉环县飞环阀门厂 DN40-DN300、玉环柱塞阀制造有限公司 DN15-DN50、淄博防腐阀门厂 DN15-DN150、上海标一阀门厂 | ||
| U41SM-16 | 360 | |||||||
| U41S-16C | 15-250 | 1.6 | ≤425 | 碳钢 | 70 | 永嘉县瓯北机械阀门厂 、浙江玉环县飞环阀门厂、开封高压阀门厂 DN15-DN200 | ||
| U41SM-16C | 100 | |||||||
| U41SM-16Q | 15-200 | 1.6 | ≤225 | 灰铸铁 | 永嘉县瓯北机械阀门厂 、南昌八一阀门有限公司 DN25-DN100 | |||
| U41F-25 | 15-300 | 2.5 | ≤250 | 碳钢 | 7.5 | 湖州第二阀门厂 DN15-DN150、玉环柱塞阀制造有限公司、浙江玉环县飞乐节能阀门厂、浙江玉环县防腐阀门厂 DN50、自贡迎江机械阀门制造有限公司 DN15-DN200 | ||
| 9.5 | ||||||||
| U41F-25Q | 15-300 | ≤250 | 球墨铸铁 | 2.5 | 玉环柱塞阀制造有限公司、浙江省玉环县飞乐节能阀门厂、浙江玉环县防腐阀门厂 DN50、郑州市荥阳通用阀门厂、自贡迎江机械阀门制造有限公司 DN15-DN200、郑州市宇明工业总公司 | |||
| 4 | ||||||||
| 290 | ||||||||
| 360 | ||||||||
| U41S-25 | 15-300 | 油品、蒸汽等 | ≤425 | 碳钢 | 15 | 上海精密阀门厂 DN15-DN100、永嘉县瓯北机械阀门厂 DN15-DN200、浙江玉环县飞环阀门厂 N15-DN250、玉环柱塞阀制造有限公司 、贡迎江机械阀门制造有限公司 DN15-DN200、开封高压阀门厂 DN15-DN200 | ||
| U41SM-25 | ||||||||
| U41S-25Q | 15-300 | 油品、水、蒸汽等 | ≤250 | 球墨铸铁 | 玉环柱塞阀制造有限公司 、贡迎江机械阀门制造有限公司 DN15-DN200 | |||
| U41F-40 | 15-200 | 4.0 | ≤180 | 碳钢 | 4 | 上海精密阀门厂 DN15-DN100、湖州第二阀门厂 DN15-DN150、浙江玉环县飞乐节能阀门厂 DN15-DN200、郑州高山水暖器材厂 DN15-DN200 | ||
| U41S-40 | 15-300 | ≤425 | 2.5 | 上海精密阀门厂 DN15-DN100、永嘉县瓯北机械阀门厂 DN15-DN200、浙江玉环县防腐阀门厂 DN50、浙江玉环县飞环阀门厂 N15-DN250、玉环柱塞阀制造有限公司 、自贡迎江机械阀门制造有限公司 DN15-DN200、淄博防腐阀门厂 DN15-DN150、开封高压阀门厂 DN15-DN200 | ||||
| U41SM-40 | ||||||||
| 不锈钢柱塞阀 | U41F-16P | 50-200 | 1.6 | 硝酸类 | ≤180 | 铬镍钛钢 | 锡山市阀门厂、浙江玉环县防腐阀门厂 DN50、浙江玉环县飞乐节能阀门厂、浙江求精泵阀制造有限公司 | |
| U41F-25P | 15-200 | 2.5 | 永嘉县瓯北机械阀门厂、浙江玉环县飞乐节能阀门厂、浙江玉环县防腐阀门厂 DN50、浙江求精泵阀制造有限公司、自贡迎江机械阀门制造有限公司 | |||||
| U41F-40P | 15-200 | 4.0 | 浙江玉环县防腐阀门厂 DN50、浙江玉环县飞乐节能阀门厂、浙江求精泵阀制造有限公司、自贡迎江机械阀门制造有限公司 | |||||
| U41F-16R | 15-200 | 1.6 | 腐蚀性介质 | ≤150 | 铬镍钼钛钢 | 锡山市阀门厂、浙江求精泵阀制造有限公司 | ||
| U41S-16P | 15-300 | 1.6 | 油品、水、蒸汽等 | ≤250 | 铬镍钛钢 | 上海精密阀门厂 DN15-DN100、锡山市阀门厂 DN15-DN200、浙江玉环县防腐阀门厂 DN50、浙江玉环县飞乐节能阀门厂、浙江玉环县防腐阀门厂 DN50、浙江求精泵阀制造有限公司 DN15-DN200、 | ||
| U41S-25P | 15-300 | 2.5 | 油品、水、蒸汽等 | ≤250 | 铬镍钛钢 | 上海精密阀门厂 DN15-DN100、锡山市阀门厂 DN15-DN200、永嘉县瓯北机械阀门厂 DN15-DN200、浙江玉环县飞乐节能阀门厂、浙江玉环县防腐阀门厂 DN50、自贡迎江机械阀门制造有限公司 DN15-DN200 | ||
| U41S-40P | 15-200 | 4.0 | 上海精密阀门厂 DN15-DN100、锡山市阀门厂、浙江玉环县飞乐节能阀门厂、浙江玉环县防腐阀门厂 DN50、自贡迎江机械阀门制造有限公司 | |||||
| U41S-16R | 15-200 | 1.6 | 腐蚀性介质 | ≤150 | 铬镍钼钛钢 | 锡山市阀门厂 | ||
| 沉浮塑料柱塞阀 | SFUF46-16 | 15-200 | 1.6 | 腐蚀性介质 | ≤150 | 钢碳 | 上海耐莱斯阀门有限公司 | |
| 手动快开排污塞阀 | KUB41S-16 | 25 | 1.6 | 油品、水、蒸汽等 | ≤250 | 球墨铸铁 | 玉环柱塞阀制造有限公司 DN25、DN40、DN50 | |
| 40 | ||||||||
| 50 | ||||||||
| KUB41S-25 | 25 | 2.5 | 球墨铸铁 | |||||
| 40 | ||||||||
| 50 | ||||||||
| KUB41S-40 | 25 | 4.0 | 钢碳 | |||||
| 40 | ||||||||
| 50 | ||||||||
2-75 阀门故障分类方法有哪些?
答:阀门故障分类方法如下:

2-76 阀门故障模式有那些?
答:阀门故障模式见表 2-65。
| 类别 | 故障模式 | 故障分析 | 故障举例 |
| 损坏型 | 断裂 | 阀门零件在外力或内应力作用下断开 | 轴类、杆类、支架、弹簧等断裂 |
| 碎裂 | 阀门零件在外力的作用下,超过强度极限而被破坏形成碎块 | 轴承、缸套等的碎裂 | |
| 裂纹 | 阀门零件表面或内层产生细微纹路 | 轴类、杆类、支架等的裂纹 | |
| 塑性变形 | 阀门零件的许用应力超过弹性极限而产生永久变形 | 轴类、杆类、弹簧等塑性变形 | |
| 开裂 | 阀门零件因强度不够,裂开可见的缝隙 | 橡胶件的开裂 | |
| 点蚀 | 阀门零件表面在循环变化的接触应力作用下,由于疲劳而产生的点状剥落 | 凸轮、轴承管道等出现的点蚀 | |
| 滑扣 | 螺纹紧固件因螺纹损坏而不能拧紧 | 阀杆螺母的螺母磨平滑扣 | |
| 粘附 | 阀门零件间的接触表面因为过热得等原因,便接触表面处材料分子转移而产生局部吸附 | 阀瓣与阀座的粘附 | |
| 开焊 | 焊缝或焊缝与基体间出现螺纹或开裂 | 法兰与阀体接缝的开裂 | |
| 咬住 | 阀门零件间接触表面由于粘附或滞卡严重,产生阻力而导致相对运动中断 | 紧固件、螺纹连接处的咬住 | |
| 失调型 | 干涉 | 阀门运动件与运动件之间或运动件与固件之间发生碰撞或摩擦,多因安装设计不当造成 | 设计问题 |
| 行程过大或过小 | 阀门操纵件或运动件所能到达极限位置之间的距离不符合技术要求,多因安装调整不当造成 | 阀瓣开启高符不符合要求,阀瓣振颤 | |
| 间隙过大或过小 | 阀门配合间隙不符合技术要求 | 导向件之间配合问题 | |
| 指示不准或无指示 | 阀门检测仪表指示值与实际情况值不符 | 阀门阀瓣实际开启高度与指示值不对应 | |
| 松脱型 | 松动 | 阀门紧固件、联接件丧失应有的紧固力 | 法兰螺栓、铆钉等连接件的松动 |
| 脱落 | 因连接失效造成被连接阀门零件与原安装位置分离 | 法兰螺栓、铆钉等连接件的脱落 | |
| 退化型 | 锈蚀 | 由于水或杂质的原因使阀门零件表面发生化学反应生锈被腐蚀 | 阀轴腐蚀 |
| 剥落 | 金属或涂层因承受搞得接触应力,以薄片状从零件表面脱落 | 阀瓣堆焊层金属的剥落 | |
| 老化 | 阀门非金属因机械磨损和热磨损,与工作环境因素有关 | 橡胶零件(隔膜,垫片、填料环)因失去弹性而老化 | |
| 异常磨损 | 因为设计、制造、装配或使用等原因是运动件表面产生超过正常磨损 | 紧固件在运动中异常磨损 | |
| 堵塞与渗漏型 | 外漏 | 由于密封面有划痕、填料压盖不合格、阀体破裂、法兰变形以及安装不当等引起 | 阀体、发料、法兰密封面的外漏 |
| 内漏 | 由于焊接缺陷、选材不当、热处理不当或铸件缺陷,在阀瓣上落入异物、预紧力降低等问题引起密封不严而使介质泄漏 | 阀体与隔膜,阀瓣与阀座间的泄露 | |
| 堵塞 | 阀门管路中有异物阻挡,造成液体或气体不能流动或流动不畅 | 控制管线的堵塞,如先导阀脉冲管堵塞 |
2-77 安全阀主要故障模式有哪些?
答:安全阀主要故障模式见表 2-66。
| 类别 | 故障模式 | 原因分析 | 备注 |
| 损坏型 | 弹簧塑性变小 | 弹簧刚性降低,许用应力超过弹性极限,承受热交变应力 | 渐进故障 |
| 阀瓣未到整定值突然开启 | 阀体和阀盖体上有砂眼、松散组织、夹渣、焊接不良或应力裂纹等缺陷 | 渐进故障 | |
| 失调型 | 阀瓣起跳、回座压力偏高或偏低不能达到完全开启状态 | 弹簧断裂或整定不当 | 突然故障 |
| 整定值偏低或有异物卡塞阀瓣驱动机构 | 运行故障 | ||
| 严重故障 | |||
| 振颤 | 调整不当,安全阀入口处理不当或距离上游侧弯头太近,导致气流产生涡流而引起扰动 | 运行故障 | |
| 蹦跳 | 调整不当或排气管水平段太长,选型不当 | 严重故障 | |
| 运行故障 | |||
| 管道系统振动 | 管道系统防振措施达不到要求 | 结构故障 | |
| 拒动 | 控制部分失败(如电池阀不动作),或有异物卡塞阀瓣驱动机构,或相关部件配合间隙太小 | 突然故障 | |
| 致命故障 | |||
| 退化型 | 弹簧磨损变形 | 介质腐蚀磨损 | 渐进故障 |
| 堵塞与渗漏型 | 阀体与阀盖间密封件泄漏 | 没有按照相关产品说明或现场实际情况进行正确的调整 | 严重故障 |
| 阀瓣与阀座之间的密封面泄漏 | 阀瓣的侵蚀性磨损或腐蚀,密封面硬质合金磨损或脱落,研磨质量欠佳 | 渐进故障 |
2-78 各类减压阀的性能对比如何?
答:减压阀按作用原理分为直接作用式和先导式。直接作用式减压阀是利用出口压力的变化直接控制阀瓣的运动。先导式减压阀由导阀和主阀组成,出口压力的变化通过导阀放大来控制主阀的运动,其性能对比见表 2-67。
| 类型 | 直接作用式 | 先导式 | |||
| 波纹管 | 薄膜 | 活塞 | 波纹管 | 薄膜 | |
| 适用介质 | 蒸汽 | 空气、水 | 蒸汽、空气、水 | 蒸汽、空气 | 蒸汽 |
| 使用压力 | 低压 | 中低压 | 各种压力 | 低压 | 中低压 |
| 适用口径/mm | 20-50 | 15-200 | 15-200 | 20-65 | 20-50 |
| 精度 | 低 | 中 | 高 | 高 | 高 |
| 流通能力 | 中 | 小 | 大 | 大 | 中 |
| 密封性能 | 中 | 好 | 中 | 中 | 中 |
| 灵敏性 | 中 | 高 | 低 | 中 | 高 |
| 成本 | 中 | 低 | 高 | 高 | 较高 |
2-79 常用阀门如何选用?
答:常用阀门的选用见表 2-68。
| 阀门种类 | 图例 | 主要用途 |
| 闸阀 |
![]() |
截断介质,允许双向流动,全启全闭,不适于调节流量 |
| 截止阀 |
![]() |
截断介质,不允许双向流动;调节参数不严格时,可代做调节阀,但不再起关闭作用;密封性较闸阀好 |
| 球阀 |
![]() |
截断介质,启闭迅速,允许做节流用 |
| 旋塞阀 |
![]() |
一般用途同球阀,三通、四通旋塞还可用作分配和换向 |
| 蝶阀 |
![]() |
截断介质,启闭迅速,也可做节流用 |
| 隔膜阀 |
![]() |
用于腐蚀性介质的启闭和节流,也可用于带悬浮物介质 |
| 柱塞阀 | 截断介质、全启全闭,也可调解流量;密封性好,泄漏少(注:GB 没有规定图例) | |
| 节流阀 |
![]() |
调节介质流量计压力,但调节精度不高,没有调节阀的调节特性,不做截断用 |
| 调节阀 |
![]() |
调节介质流量及压力(注:图例表示带弹簧薄膜元件的调节阀) |
| 止回阀 |
![]() |
自动防止介质倒流(注:图例中流向有空白三角形至非空白三角形) |
| 安全阀 |
![]() |
用作设备或管路的超压保护,能自动维持压力在安全值以下(注:图例中左为弹簧式,右为重锤式) |
| 减压阀 |
![]() |
可自动将介质压力减低至所需压力(注:图例中小三角形为高压端) |
| 疏水阀 |
![]() |
可自动排除蒸汽管路或系统中的凝结水,并阻止蒸汽逸漏,同时也可排除管路系统中的空气和其他水凝性气体(注:图例中左为 GB141,右为 ISO) |
2-80 什么是浮球阀?结构特点是什么?常用在哪里?
答:浮球阀也称漂子门,是一种自动补水阀门,用作高位水箱及各种贮水器中进水的自动开关设备,其结构如图 2-29 所示,它是由浮球、杠杆、阀瓣、阀座四个部分组成。浮球阀在水面上,如水面升高,球阀也随之升高,浮球带动杠杆式阀瓣压在阀座上,将阀座关闭,停止进水。当水位低于规定位置时,浮球也随之下降,带动杠杆使阀瓣离开阀座,让水进入水箱。如此周而复始的动作,就实现了水位的自动控制。

图 2-29 浮球阀
第 3 章 管道布置和常用管材、管件及附件
3-1 管线的含义是什么?
答:管线是指各种管道与电气路线。管道包括动力管道与工艺管道;电气线路包括架空线路和电缆线路两种。
3-2 管线基本单元如何划分?
答:工厂企业要本着方便维修和管理的原则,结合各种管线的自然特点(大型企业可把管线划分为若干个基本单位),按规定进行编号和入账,划分原则如下。
(1)动力管道和工艺管道
1)从站房外阀门或分气缸(或储气罐)的配出阀门到该管路上的第一阀门(包括第一阀门)的管道为一个单元。
2)从第一阀门到第二阀门(包括第二阀门),或者从一阀门倒下一阀门(包括下一阀门)的管道为一个单元。
3)该管道每一入户管段至各固点使用电的管路为一单元。
4)各管路应包括有关附件。
(2)上门管道
1)自备泵房的上水管道:①从水塔下管道阀门(或从水塔)到管路上第一阀门(包括第一阀门)为一单元;②深井泵的总配出阀门到管道上第一阀门的管道为第一单元;③从一阀门到下一阀门(包括下一阀门)的水管为一单元;④水管每一入户管段到各固定使用点的水管为一单元;⑤水塔及深井泵的总配出阀门属泵房,不列入管路单元。
2)城市给水管道:①从进场水管总阀门到管路上第一阀门(包括第一阀门)的水管为一单元;②从一阀门到下一阀门(包括下一阀门)的水管为一单元;③水管末级阀门到各固定使用点的水管为一单元。
(3)电力线路
1)配电间每一路引出母线或电缆(或两次侧开关后端接点引出母线或电缆),包括分支干线为一单元;上述线路应包括瓷件、横担、电缆头、电缆中间接头等附件。
2)变配点所的变压器一次侧高压隔离开关(或跌落熔断器)至该配电所二次侧引出母线开关的末端接点为变配点所的复数线路,不单独编号。
3)动力配电箱(板)及引入、引出线为该箱(板)附设线路,不单独编号。
(4)照明线路:一个照明控制箱(开关)及控制的灯具、线路等为一单元。
(5)电话线路:从交换机(总机)配线架分出的每一个电缆线路(包括各分线盒、中间接头)各为一单元。
3-3 管线图样管理的要求是什么?
答:管线图样管理的要求是:
为加强各种管线的管理,确保安全运行,应按要求整顿各类管线和绘制动力管线图,并责成有关部门指定专人管理。
各种管线图应统一以全厂建筑物平面布置图为底图进行绘制。全场平面图的绘制应符合国标 GB/T 50104-2001《建筑制图标准》,并采用建筑坐标进行标注,各管线应对建筑物标注距离尺寸或用建筑坐标标注其方位。
管线图中各管道口径(公称直径)和电线电缆直径以 mm 为单位,其余尺寸一律以 m 为单位,并精准到小数点后两位进行标注,原有的建筑物和各种管线可放宽到小数点后一位进行标注。各类管线图可分类、分片进行绘制,也可合成在一张平面图上。
3-3 管线图样的绘制有什么规定?
答:(1)管道图绘制规定
1)各类动力管道中的管件符号应按国标 GB/T 6567.3-2008 的规定绘制。
2)输送液体与气体管路符号的规定:输送各种液体与气体的管路一律用实线表示,为了区别各种不同的管路,在线的中间须注上汉语拼音字母的规定符号。
3)上水管的符号为“S”:①S 为上水管(不分类型);②S1 为生产上水管;③S2 为生活上水管;④S3 为生产、生活消防上水管;⑤S4 为生产消防上水管;⑥S5 为生活消防上水管;⑦S6 为消防水上管;⑧S7 为高压供水管;⑨S8 为软化水管;⑩S9 为冲洗水管;⑪S10 为低温水管;⑫S11 为城市上水管;⑬S12 为原有上水管(利用);⑭S13 为原有上水管(废除)。
4)下水管的符号为“X”:①X 为下水管(不分类型);②X1 为生产下水管(自流);③X2 为生产下水管(压力);④X3 为生活下水管(自流);⑤X4 为生活下水管(压力);⑥X5 为生产生活下水管(自流);⑦X6 为生产生活下水管(压力);⑧X7 为生产雨水下水管(自流);⑨X8 为生产雨水下水管(压力)。
5)循环水管的符号为 “XH”。
6)化工管的符号为“H”。
7)热水管的符号为“R”:①R 为热水管(不分类型);②R1 为生产热水管(循环自流);③R2 为生产热水管;④R3 为生活热水管;⑤R4 为热水回水管;⑥R5 为采暖温水送水管;⑦R6 为采暖温水回水管。
8)凝结水管的符号为“N”:①N1 为凝结水管;②N2 为凝结回水管(自流);③N3 为凝结回水管(压力)。
9)冷冻水管的符号为“L”:①L1 为冷冻水管;②L2 为冷冻回水管。
10)蒸汽管的符号为“Z”。
11)煤气管的符号为“M”:①M1 为高炉煤气管;②M2 为焦炉煤气管;③M3 为发生炉热煤气管;④M4 为发生炉冷媒气管;⑤M5 为发生炉水煤气管。
12)压缩空气的符号为“YSj”。
13)氧气管的符号为“YQ”。
14)氮气管的符号为“DQ”。
15)氢气管的符号为“QQ”。
16)乙炔管的符号为“YJ”。
17)鼓风管的符号为“GF”。
18)通风管的符号为“TF”
19)油管的符号为“Y”:①Y1 为原油罐;②Y3 为车用汽油管;③Y5 为燃料油管;④Y7 为柴油管;⑤Y9 为重油管;⑥Y11 为润滑油管。
20)图上管路的直径尺寸、流体参数和代号可按图 3-1 所示方法标注。

图 3-1 管道标识方法示意图
管道的规定符号一般用汉语拼音字母表示。阿拉伯数字表述流体参数。例如:
S1DN100,标示生产上水管。其公称直径为 100mm。
13Z DN200,表示 13 个绝对大气压的公称直径为 200mm 的蒸汽管道。
1400M3DN500,表示发生炉热煤气其热值为 1400kcal/m³(1cal=4.1868J),公称直径为 500mm 的发生炉煤气管路;
90R DN100,表示 90℃ 的公称直径 100mm 的热水管路。
21)图上同时出现地面和埋地管线时,埋地管路可用虚线表示,但用实线表示时必须注上标高,每线图一般要列出所用规定符号的说明,同一图上的管道不论管子大小必须用同等粗细的线条画出,其辅助图例及符号见表 3-1。
| 序号 | 名称 | 图例 | 备注 |
| 1 | 保湿管 |
![]() |
全部的可用直线或文字说明 |
| 2 | 地沟管 |
![]() |
全部的可用直线或文字说明 |
| 3 | 架空管 |
![]() |
有了飙高可不注符号 |
| 4 | 原有管 |
![]() |
2、15 为线距及线段长度 |
| 5 | 埋地管 |
![]() |
可用实线表示,但必须注上标高 |
| 6 | 管路坡度及方向 |
![]() |
|
| 7 | 暖气管井 |
![]() |
原有的井可用虚线表示 |
| 8 | 上水管井/下水管井/排水沟井 |
![]() |
原有的井可用虚线表示 |
| 9 | 消火栓井 |
![]() |
原有的井可用虚线表示 |
| 10 | 化粪池 |
![]() |
原有的池可用虚线表示 |
| 11 | 雨水井 |
![]() |
原有的井可用虚线表示 |
22)管道零件、附件及热力工程的规定符号如下:①管道及其联接的一般符号规定如图 3-2 所示。

图 3-2 管道连接符号示意
23)动力管道中各阀门、表针均应单独在图上标注方位尺寸、型号规格及有关编号。
24)动力管道上(厂区或车间)均应画到各固定使用点,给水管道画到各用户龙头,压缩空气管道画到各用气设备的进口阀门等。
(2)电力线路图绘制要求
1)企业应绘制变配电一、二次接线图,原理图,电力配电线路图(包括照明路灯图)。
2)电力线路途中符号应按 GB/T4728.5-2005 和 GB/T4728.11-2008 的规定绘制。
3)电气符号通常包括电气系统图图形符号、电工设备文字符号和电工系统图的回路标号三种。
电气系统图中的图形符号见表 3-3;用以区分电气系统中的设备、装置元件及线路的名称、性能、作用、位置、安装方式和文字符号见表 3-4;电气系统平面布置图中用的标注符号见表 3-5。






















